
型號意義

產品概況
SZ型水環式真空泵及壓縮機是用來抽吸或壓縮空氣和其它無腐蝕性,不溶於水,不含有固體顆粒的氣體,以便在密封係統中形成一定的真空度,常用於真空蒸發、真空濃縮、真空幹燥、真空抽濾,真空送料等工藝過程。但吸入氣體允許混有少量液體它被廣泛運用於機械、石油化工、製藥、食品、製糖工業及電子領域。 由於在工作過程中,氣體的壓縮是等溫的,所以在壓縮和抽吸易燃、易爆氣體時,不易發生危險,所以SZ型水環式真空泵應用更加廣泛。
SZ型有SZ-1、SZ-2、 SZ-3及 SZ-4四種規格,SZ型水環式真空泵所形成的真空度分別在86~95%之間。SZ-1及 SZ-2所能形成的大壓力為1.0~1.4公斤/厘米2,SZ-3及SZ-4在所配電動機功率容許下的大壓力為1.5公斤/厘米2,若增加電動機功率,大壓力為2.1公斤/厘米2(泵型意義:如SZ-1、S-水環式、Z-真空泵,1-泵的序號)。
工作原理
如圖1所示,葉輪①偏心地裝在SZ真空泵體②內,起動時向泵內注入一定高度的水, 因此當葉片輪旋轉時,水受離心力的作用而在SZ真空泵壁上形成-旋轉水環③,水環上部內表麵與輪轂相切,沿箭頭主向旋轉,在前半轉的過程中,水環內表麵逐漸與輪轂脫離,因此在葉輪葉片間形成空間並逐漸擴大,這樣就在吸氣口吸入空氣;在後半轉的過程中,水環的內表麵漸漸與輪轂靠近,葉片間的空間容積隨著縮小,葉片間的空氣因此被壓縮而排出。
如此葉輪每轉動一周,葉片間的空間容積改變一次,每個葉片間的水好像活塞一樣往複一次,SZ型水環式真空泵就連續不斷地抽吸氣體。
由於在工作中,水會發熱,同時一部分水會和氣體一起被排走,因此SZ型水環式真空泵在工作中,泵中必須不斷地供給冷水,以冷卻和補充泵內消耗的水。供給的冷水以15℃為宜。
當SZ型水環式真空泵排出的氣體是廢氣時候,在排氣一端接有一水箱,廢氣和所帶的一部分水排入水箱後,氣體再由水箱的出管跑掉,而水就落入水箱的底部經回水管再回到泵內使用,如果循環時間長了便會發熱,這時需從水箱的供水處供給一定的冷水。
由於在工作中,水會發熱,同時一部分水會和氣體一起被排走,因此在工作中必須不斷地供給冷水,以冷卻和補充SZ型水環式真空泵內消耗的水。 當SZ型水環式真空泵排出的氣體是廢氣的時候,在排氣一端接有一水箱,廢水和所帶的一部分水箱後,氣體再由水箱的出管跑掉,而水就落入水箱的底部經回水管再回到泵內使用,如果水循環時間長了便會發熱,這時需從水箱的供水處供給一定的冷水。
當壓縮機用時則在排氣一端要接上一氣水分離器,帶水的氣體進入分離器時便自動分開,氣體山分離器的出口送到需要的地方去,而熱水則經過自動的開關放出。(壓縮氣體時容易發熱,水由SZ型水環式真空泵處出來後便成了熱水),在分防離器的底部也要不斷地供給冷水補充被放走的熱水,同時起冷卻作用。
|
|
|||||||||||||||||||||||||||||||||||||||||||||||||||||||||||||||||
結構說明
SZ型水環式真空泵的結構如圖所示:
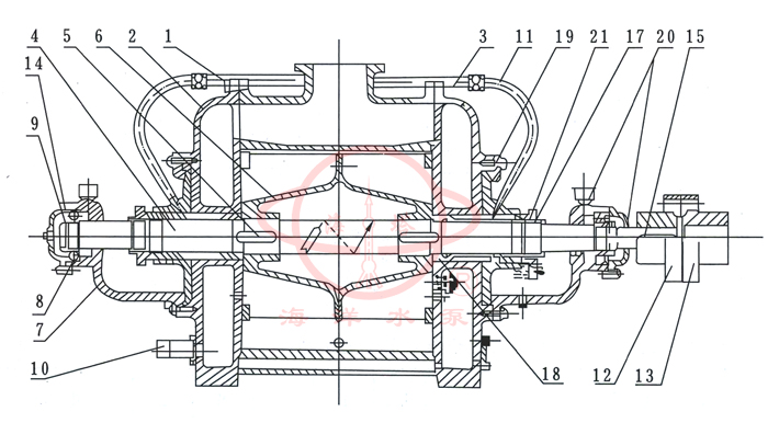
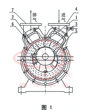
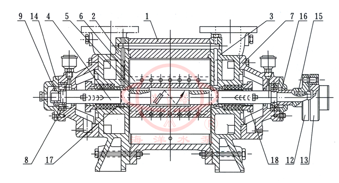
SZ型水環式真空泵由泵體(1)及兩個側蓋(2)(3)所組成(圖3及圖4)側蓋下部有泵腳(a)支撐(圖2),在上部是兩管子即進氣管(c)和排氣管(f),這兩個管子通過側蓋上的吸氣孔(d)及排所孔(g)與泵腔相連,泵體上的進氣管與排氣管和側蓋上的吸氣孔及排氣孔相通,軸(4)偏心地安裝在SZ型水環式真空泵體中,葉輪(6)用鍵(5)固定於軸上。葉輪與側蓋之間的間隙,用泵體和側蓋間的墊來調整總間隙,用軸套(17)推動葉輪,從而調整葉輪兩端的間隙。此間隙決定氣體在泵內由進氣口至排氣口流動中損失的大小。
結構圖
![]() |
|||||||||||||||
1 |
泵體 |
2 |
後蓋 |
3 |
前蓋 |
4 |
泵軸 |
5 |
平鍵 |
6 |
葉輪 |
7 |
軸承瓦架 |
8 |
滾珠軸承 |
9 |
圓螺母 |
12 |
泵聯軸器 |
13 |
電機聯軸器 |
14 |
軸承蓋 |
15 |
鍵 |
16 |
定位圈 |
17 |
軸套 |
18 |
填料壓蓋 |
![]() |
|||||||||||||||||||
1 |
泵體 |
2 |
後蓋 |
3 |
前蓋 |
4 |
泵軸 |
5 |
平鍵 |
6 |
葉輪 |
7 |
軸承瓦架 |
8 |
滾珠軸承 |
9 |
圓螺母 |
10 |
進水管 |
11 |
水封管 |
12 |
泵聯軸器 |
13 |
電機聯軸器 |
14 |
軸承蓋 |
15 |
鍵 |
17 |
軸套螺母 |
18 |
軸套 |
19 |
填料函 |
20 |
毛氈圈 |
21 |
填料壓蓋 |
SZ型水環式真空泵填料函配備在示兩側蓋(2)(3)內,在填料後麵,有一個水室,水由管子(11)進入此室,一部分水通過填料冷卻填料函,另一部分進入泵體,在離心力的作用下沿葉片端麵流動而充滿於整個葉輪和側蓋之間。
滾珠軸承(8)用圓螺母(9)固定在軸上。
在側蓋側壁上(圖2)排氣孔(g)下麵有幾行圓孔(e)有橡皮閥(球形)關閉,這些孔的得作用是當時輪葉片間的氣體壓力達到排氣壓力時,在排氣口以前就將氣體自動放出,因此就減少了因氣體壓力過大而消耗的功率。
SZ-1及SZ-2的結構圖(圖3)所示,其與SZ-3及SZ-4結構(圖4)不同之處是:進、排氣管分別在兩個側蓋上,一根管與進氣口相通,一根管與排氣口相通,泵內無橡皮閥。
進氣管(10)與氣水分離器聯在一起供給泵所需要的循環水,為了使泵腔的兩端麵間隙和填料得到很好的密封,必須由水封管(11)不斷地供給幹淨的冷水。在聯軸器端為了不使軸承內油外漏,因此裝有毛氈圈(20)來密封。
設備說明
SZ-1及SZ-2作SZ型水環式真空泵(圖7)所示,作壓縮機如(圖8)所示,SZ-3作水環式真空泵或壓縮機如(圖9)所示,SZ-4作水環式真空泵或壓縮機如(圖10)所示,他們都由水環式真空泵(1),彈性聯軸器,電動機(2),氣水分離器(3),管路(4)及管路(5),溢水管(6)等組成。
SZ型水環式真空泵及壓縮機與氣水分離器的工作過程如(圖11)所示。氣體由管路(11)經閥門(2)進入SZ型水環式真空泵(1),然後經導氣彎管(10)進入氣水分離器或水箱(3)中,帶水的氣體在氣水分離器中分離開後,氣體再經閥門(9)送到需要的地方去,而水則留在水箱內,為了使箱內的水位保持一定而設有自動浮子開關(4),當水位升高時浮子升起放水閥被打開,水就從管(12)流出,當水位降低時浮子下落,放水閥被關死,這樣箱內的水便能保持著需要的水位。內水環的用水是由水箱供給的,供水量的大小靠連通管(6)上的閥門(7)調正。水由泵出來到水箱內,由水箱回到泵內,循環次數多了便會發熱,尤其壓縮氣體發熱更快,這樣就而要由管(5)向箱內注入冷水。有時排氣量超出需要時可將閥門(8)打開進行調解。
抽氣設備與壓氣設備的區別僅在於氣水分離器的構造有所不同,在第一種情況下,氣水分離器中的壓力等於大氣壓,在第二種情況下則等於排氣壓力,故多餘的水通過浮子調整器從氣水分離內放走。
技術規範
型號 |
真空泵吸氣量 |
壓縮機排氣量 |
電機功率KW |
轉速r/min |
水耗量L/min |
真空度 |
大壓力MPa |
泵重㎏ |
|||||
當真空度為(m3/min) |
當壓力為(㎏/㎝2) |
真空泵 |
壓縮機 |
||||||||||
0 |
40 |
80 |
0 |
0.5 |
1 |
||||||||
SZ-1 |
1.5 |
0.64 |
0.12 |
1.5 |
1.0 |
- |
4 |
5.5 |
1440 |
10 |
84 |
1 |
140 |
SZ-2 |
3.4 |
1.65 |
0.25 |
3.4 |
2.6 |
1.5 |
7.5 |
11 |
1450 1460 |
30 |
87 |
1.4 |
150 |
SZ-3 |
11.5 |
6.8 |
1.5 |
11.5 |
9.2 |
7.5 |
22 |
37 |
970 |
70 |
92 |
2.1 |
463 |
SZ-4 |
27 |
17.6 |
3 |
27 |
26 |
16 |
70 |
80 |
733 735 |
100 |
93 |
2.1 |
975 |
啟動與停車
一、起動:
經過長期停車的泵在開動以前,必須用手轉動聯軸器數周,以便證實沒有卡住或損傷現象。
1、關閉進氣管上的閘閥(2)(圖11)。
2、如果排汽管上裝有閘閥(9)也應將其關閉。
3、向填料函和氣水分離器內注水。
4、當氣水分離器往外溢水時,開動電動機。
5、全開由氣水分離器向泵給水管路(6)上的球形閥(7)。
6、打開排氣管上的閘閥(9)。
7、打開排氣管上的閘閥(2)。
8、用球形閥(7)調整由氣水分離器向泵送水的水量,以便在所要求的技術條件下運轉,使功耗小。
9、調整由進水管(5)向氣水分離器的送水量,以便用小的水量消耗,保證泵所要求的技術規範。
10、調整向填料函的送水量,以便用小的水量消耗而保證填料函的密封性,真空泵在極限真空度下工作時,由於泵內產生物理作用而產生爆料聲,表示泵發生了毛病,此時泵應停車。
二、停車按以下順序:
1、關閉進氣管上的閘閥(2)(圖11)。
2、關閉排氣管上閘閥。
3、關閉電動機。
4、停止向填料、氣水分離器內注水。
5、當氣水分離器溢水管停止向外溢水後,關閉向泵注水管路。
6、上緊球形閥。
7、如泵停車時,必須擰開泵及氣水分離器上的管堵把水放淨。
維護
1、應定期的壓緊填料,如填料因磨損而不能保證所需要的密封性時,應換新填料,填料不能壓的過緊,正常壓緊的填料允許水成滴漏出,其量不得不多,應用油浸的石棉繩作填料。
2、經常檢查滾球軸承的工作和潤滑情況。
3、正常工作的滾動軸承,其溫度比周圍溫度高15℃-20℃,不允許超過55℃-60℃正常工作的軸承每年應裝油3-4次。
每年至少清洗軸承一次,並將潤滑油全部更換。
拆禦與裝配
1、拆卸
泵的拆卸分為部分拆檢查並清洗,和完全拆卸修理及換零件,在拆泵前應將泵中的水孔放出,並應將管子(11)(圖4)及管子(5)(圖10)取下。
在拆卸時應將所有的墊謹慎地取下,如發生損壞應在裝配時更換同樣厚度的新墊。
泵應從不裝有聯軸器的一端開始拆卸,其順序如下:
(1)鬆開並取下軸承蓋(14)(圖3)。
(2)鬆開滾動軸承,先用鉤板手將圓螺(9)擰下。
(3)取下壓緊填料壓蓋用的螺帽。
(4)由左側蓋的一邊將軸承架(7)鬆開,同時轉動二個拆卸螺釘(方頭圓柱端螺釘),將??? 軸承及軸承架一起從軸上取下。
(5)使側蓋上的進氣管和管子(10)脫開並鬆開示體與側蓋(2)的連接螺釘和泵腳的雙頭螺栓。在泵體下加墊,然後使側蓋和泵體離開,從軸上取下側蓋(側蓋取下後應將軸支住)。
(6)使泵體與另一側蓋離開,並由軸上取下。
泵的部分拆卸至此為止,此時泵的工作部分及各個另件可進行檢查及清洗,進一步拆卸應按下列順序繼續進行。
(7)切除電動機與電機的連接,鬆開電動機與底座連接,並與泵分開。
(8)利用鉤板手等拆卸工具,自軸上取下聯軸器。
(9)從軸上取下聯軸器的鍵(15)
(10)取下軸承蓋。
(11)取下定位圈(6)(圖3)或取下圓螺母(圖4)鬆開滾動軸承。
(12)取下填料壓蓋的壓緊螺帽。
(13)按照第4條將右邊的軸承架和軸承一起取下。
(14)將軸(4)和葉輪(6)一起從泵體中取出。
(15)從軸上擰下軸套螺母(17)並取下軸套(8)
(16)從軸上取下葉輪。
2、裝配
裝配前應清洗殘留在結合麵上的執並仔細擦幹塗上機油。
所有配合麵和螺紋處應仔細擦淨塗上機油。
清除軸承和軸承架內的舊油並加上新油。
舊墊損壞需要更換新墊時,厚度應該相同,裝配順序與拆卸順序相反。
裝配時主要的是調整葉輪端麵和側蓋的間隙,在兩邊總的間隙對於SZ-3及SZ-4不得超過0.4毫米,對SZ-1及SZ-2不得超過0.3毫米。間隙由泵體(1)和側蓋(2)之間加墊取得,葉輪兩端間隙應該均衡,可擰軸套螺母(17)以移動葉輪來保證。